Have you ever turned your keyboard upside down to find enough crumbs to form a whole new sandwich dropping to your desk like some kind of disgusting, non-festive snow globe? Apple has a patent that could mean future MacBook owners are spared this unedifying spectacle: a keyboard design that repels crumbs, dust and dirt to keep everything in tip-top working order.
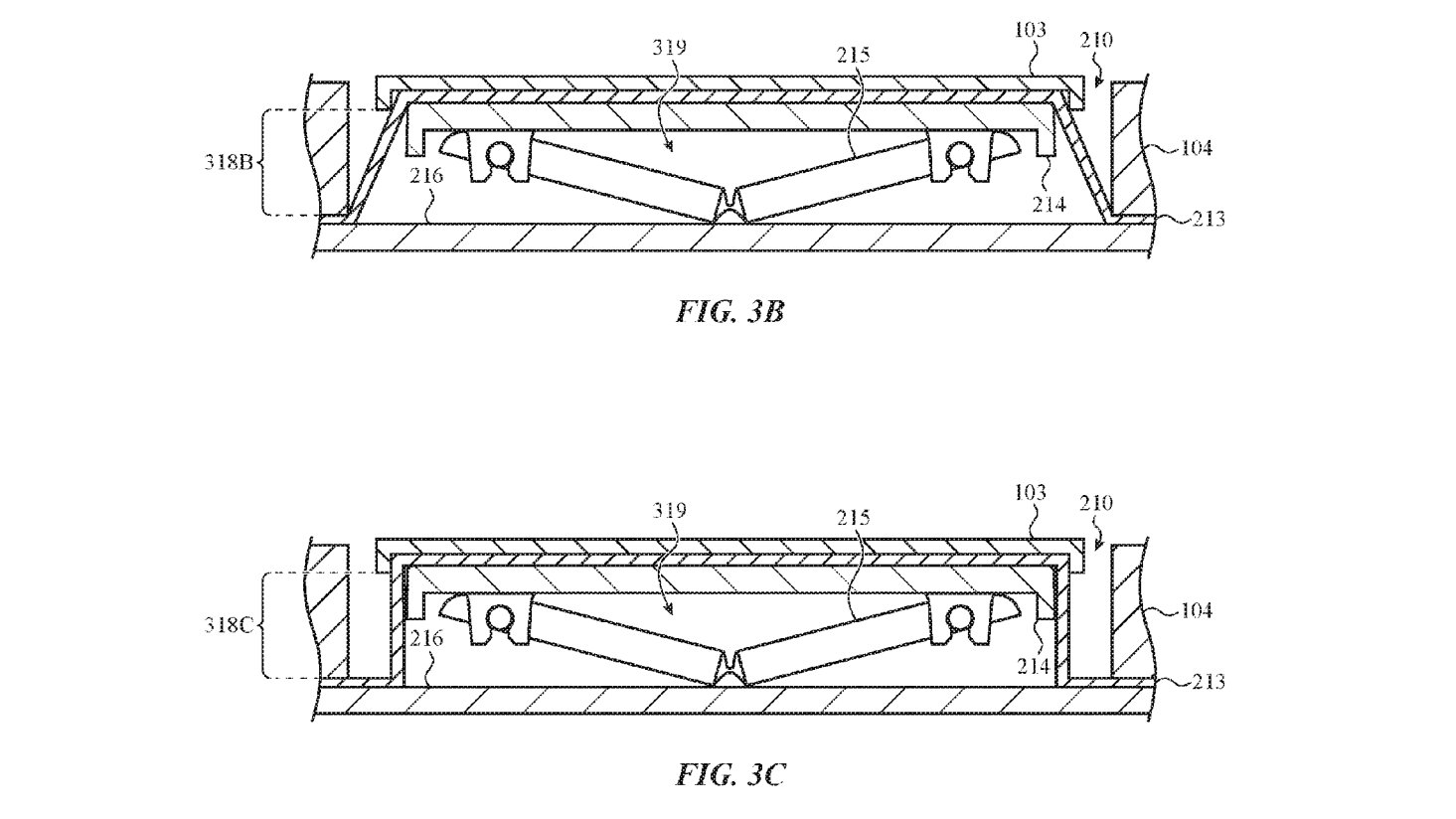
While the best way to avoid turning your keyboard into a food graveyard might be to not eat at your computer, Apple appreciates that we are a snacking species and that habit isn’t changing anytime soon. Instead, the patent reveals two methods to keep your Apple keyboard factory fresh. The first involves completely sealing the gap between the keys, meaning no space for crumbs to hide in. The second is a little more wacky: a membrane underneath each key would “blow out air every time a key is pressed,” like your keyboard is sighing at your slovenly nature. The force of the air would dislodge any debris keeping the keys safe from stickiness.
While the patent went public last week, it was actually filed by Apple on 8 September 2016 – the day before Apple revealed the iPhone 7 to the world – and as yet it hasn’t appeared in any Apple keyboards. It may never do so – there’s no shortage of patents that never get used, after all.
But if it does, it could go some way to solving a tricky problem. Particles getting under the keys can cause problems – especially liquids. “Residues from such liquids, such as sugar, may corrode or block electrical contacts [and] prevent key movement by bonding moving parts,” the patent notes. As someone who was quoted over £400 to replace a MacBook keyboard after an unfortunate run-in with a rum and Coke on election night – they don’t have to tell me.
The problem is only likely to become more pronounced: as laptops get thinner and thinner, the space underneath keys has to follow suit, which makes the difference between a pressed and unpressed key far less pronounced. While cleaning old Apple keyboards was pretty straightforward, modern models are significantly trickier.
Still, whether or not this particular fix ever comes to fruition or not, it’s good to know that someone at Apple is taking the concerns of we grubby desk eaters seriously.
Disclaimer: Some pages on this site may include an affiliate link. This does not effect our editorial in any way.